主营产品:
光学仪器、光学材料、实验仪器、手动工具、焊接工具、焊接材料、仪器仪表、静电设备、静电辅料、工业器材、气动元件、电工电气、测量工具、计量设备、气动工具、电动工具、化工设备、化工辅料、点胶设备、小型设备、储存设备、物流设备、工业安防、**防护、包装材料、切削工具、切削材料、办公设备、办公文 具、工装夹具、测试治具、机械加工。设备等。
- 西南区厂家直销 FUNATEC...
- 厂家直销 MUSASHI武藏 ...
- AITEC艾泰克 Power-...
- 重庆上乘粘度计 TOKISA...
- 西南区厂家直销EIWA熔接机拉...
- 功能齐全 重庆内藤销售 KOB...
- 原装进口 静电测量仪 FMX-...
- 折叠耐久试验机 DLDMLH...
- SEN日森 UV硬化装置 台式...
- HID光源 HL - LGJ ...
- USHIO牛尾 照明设备 一般...
- 新品直销,OPK株式会社,托盘...
- 现货直销 SANEI三荣 BS...
- 现货直销 SANEI三荣 SD...
- 西南地区直销 MOUNTZ蒙士...
- DLDMLH-4U 折叠耐久...
- 折叠耐久试验机 DLDMLH-...
- 现货 DIT东日技研 超声波传...
- 现货 DIT东日技研 静电消除...
- 现货 DIT东日技研 喷嘴式/...
- 重庆内藤供应AITEC艾泰克L...
- AITEC艾泰克 氮置换BOX...
- AITEC艾泰克 晶圆UV照射...
- AITEC艾泰克 闪光灯设定数...
- AITEC艾泰克 LPDCH系...
- AITEC艾泰克 LMS 10...
- AITEC艾泰克 红外线照明 ...
- NDK日本电色 浊度/色度仪...
- 内藤代理 日本MUSASHI...
- 重庆内藤代理TND-4500K...
- 武藏MUSASHI点胶机sup...
- 针形控制阀NCV-17日本武藏...
- 日本HAKKO白光自动焊锡系统...
- 日本FLUORO福乐 小型真空...
- 日本MALCOM马康手持式粘度...
- 日本MUSASHI武藏数码控制...
- 日本MUSASHI武藏高精度...
- 日本MUSASHI武藏中国(重...
- INFLIDGE英富丽超级空气...
- 代理点胶机日本MUSASHI武...
- 内藤供应 日本MUSASHI武...
- 代理现货销售 TND-450...
- 日本FLUORO福乐小型真空泵...
- 日本MUSASHI武藏数码控制...
- 日本probe探头 耐500℃...
- INFLIDGE英富丽超级空气...
- SIGMAKOKI西格玛光机2...
- 针形控制阀NCV-17日本武藏...
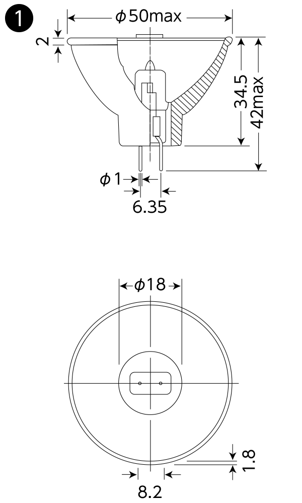
产品详情
简单介绍:
使用分色镜只反射有效的可见光。
红外线向后透过,将膜面温度抑制到一般镜面式的1/2以下。
3000-3400K的高色温,可以获得明亮稳定的图像。
详情介绍:
低压(低压)反射型
JCR -GZ6.35底座
- * 您可以从格式链接下载产品规格表 (PDF)。
- *标有△的产品为定制产品。
- * 我们也接受除上述产品以外的特殊订单。
适用插座
| G。 |
HS-60T HS-310 |
|---|
尺寸图







